劳斯莱斯也开始用分体大灯了?
近日一组劳斯莱斯的全新SUV谍照曝光,从细节来看,大灯会是分体式,上部横向灯带贯穿到了中网内,灯带下部是一组方正的灯组。
看来劳斯莱斯也要开始改变设计风格了,也要赶时髦了。
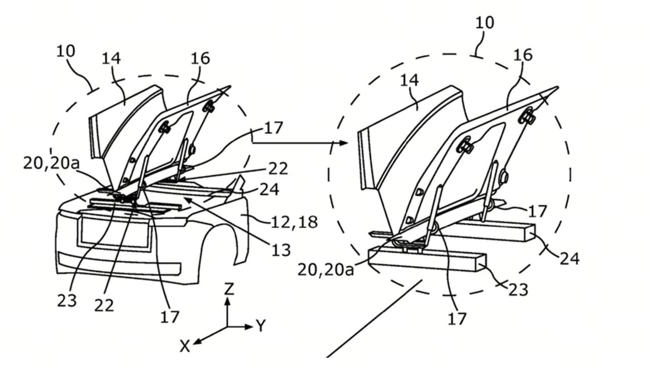
不过其前机盖可能是要回到复古的左右两扇鸥翼式结构,可以分别开启左右两扇,机盖的固定和液压杆放在了机舱竖向中间,机盖是向中间开启的。



劳斯莱斯也开始用分体大灯了?
近日一组劳斯莱斯的全新SUV谍照曝光,从细节来看,大灯会是分体式,上部横向灯带贯穿到了中网内,灯带下部是一组方正的灯组。
看来劳斯莱斯也要开始改变设计风格了,也要赶时髦了。
不过其前机盖可能是要回到复古的左右两扇鸥翼式结构,可以分别开启左右两扇,机盖的固定和液压杆放在了机舱竖向中间,机盖是向中间开启的。


