YC科技资讯网
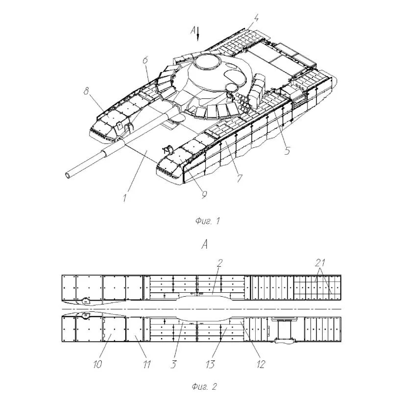
烽火问鼎计划每天认识一件兵器 翼子板和车体上装的爆炸反应装甲
2026-04-10 14:21:19
萧小说事
军事
烽火问鼎计划每天认识一件兵器 翼子板和车体上装的爆炸反应装甲
猜你喜欢
有这样的重骑兵了,可以直接搏一把黄袍加身了[吃瓜]
2026-03-18
春光无限多
意大利的德军虎式坦克当年就是听他的话,跟盟军的军舰对线去了
2026-04-10
黑铁桐人
标签:
虎式坦克
德军
军舰
驱逐舰
每天认识一件兵器车载速射迫击炮
2026-04-10
青香评军事
标签:
迫击炮
导弹
陆军中型旅部队新接装的轮式装甲车辆,几个主要基础型号都有了,105毫米突击炮、步
2026-04-07
君旭黑暗
标签:
陆军
装甲车
二战初期,苏联T-34坦克堪称“装甲猛兽”——装甲和火力都远超同期德军坦
2026-04-05
博学喜鹊
标签:
坦克
德军
苏联
t-34坦克
战争史
欧美军事
仗怎么打,兵就怎么练。4月9日,美国空军驻岐阜基地的KC-130J加油机开展
2026-04-09
和洽看国际
标签:
加油机
日本
美国空军
岐阜
伊朗这波“离大谱”的操作,直接把全世界的军事专家给整不会了。造价上亿的美军C
2026-04-10
嘉赐畅
标签:
伊朗
美军
F-15E
运输机
刚刚出厂的坦克,这是出口阿尔及利亚的VT-4主战坦克,这是高配版本,炮塔上集成了
2026-04-10
君旭黑暗
标签:
阿尔及利亚
主战坦克
vt-4
热门分类
推荐
热榜
军事
NBA
体育
社会
明星八卦
娱乐
财经
科技
汽车
历史
国际
游戏
动漫
公益
搞笑
商业
互联网
数码
国际足球
房产
家居
时尚
科学探索
职场
育儿
股票
教育
影视
情感
热点
中国军情
武器
中国南海
中国足球
亚洲杯
科比
综合体育
CBA
投资
楼市
大咖秀
外汇
创业
风口
SUV
豪车
概念车
优惠
新能源
美国
欧洲
朝日韩
俄罗斯
孕期
街拍
恋爱攻略
婚姻
正能量