YC科技资讯网

华为有一个 25 年 1 月申请的关于红枫的专利,刚公开没几个月。之前的红枫都是

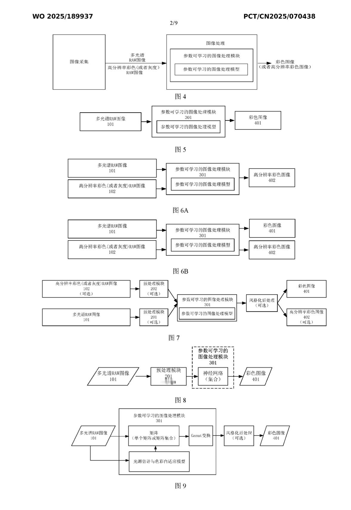
华为有一个 25 年 1 月申请的关于红枫的专利,刚公开没几个月。

之前的红枫都是 RYYB 的传感器作为第一传感器,红枫多光谱作为辅助去修正色彩。

但是这个新专利里,多光谱会变成第一传感器,它自己就是成像主体,抛弃 RGGB 或者 RYYB,用十几个光谱维度的原始数据,经过 ISP 和 AI 重建最终图像。

不知道会在哪一代产品用上?

华为Pura90系列外观曝光